|
ES-P202030970, 25 Septiembre, 2020
Dibujos Patente Airepi
|
|
|
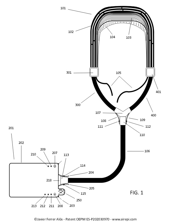
Figura 1.- Vista en planta del dispositivo corona de difusión de aire y el dispositivo generador portátil de aire impulsado con sus elementos de conexión y ductos de canalización.
|
|
|
Figuras 2a – 2c.- Vistas en planta y detalles de los elementos principales del dispositivo corona y el dispositivo generador.
|
|
|
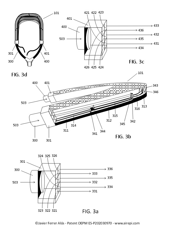
Figuras 3a – 3d.- Vistas de alzado en 3D del dispositivo corona con sus conductos interiores y detalles de los distribuidores de entrada.
|
|
|
Figuras 4a – 4e.- Detalles de los plenums y las ranuras del dispositivo corona, el diseño de las bocas de salida y el volumen de control del chorro de difusión.
|
|
|
Figuras 5a - 5d.- Vistas de frente y posterior en 3D del dispositivo generador, y en planta con detalle de sus componentes principales.
|
|
|
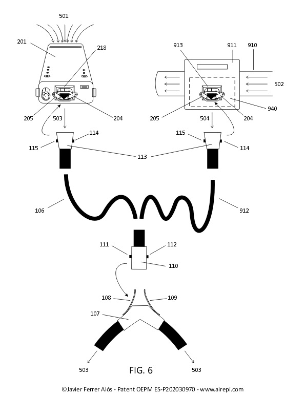
Figura 6.- Vista de alzado en 3D del dispositivo generador con detalle del conector al ducto de canalización, y detalle de conexión a una fuente alternativa de aire.
|
|
|
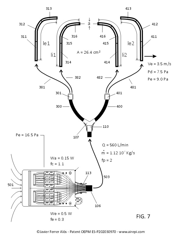
Figura 7.- Detalle de las ranuras de difusión del dispositivo corona con ejemplo de valores cinemáticos y de potencia de ventilación del dispositivo generador.
|
|
|
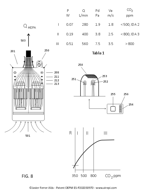
Figura 8.- Detalle del sensor de CO2 del dispositivo generador y tabla con un ejemplo de tres niveles de potencia de impulsión de aire con relación a la calidad del aire (IDA).
|
|
|
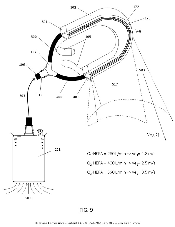
Figura 9.- Vista inferior en 3D del dispositivo corona y el volumen de control de la difusión de aire con 3 caudales de aire.
|
|
|
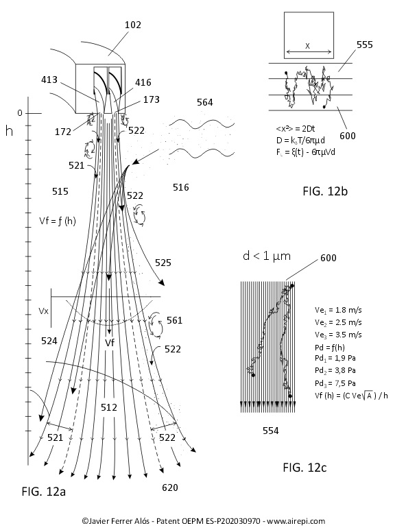
Figuras 10a - 10c.- Diagramas de difusión y fuerzas implicadas en partículas con diámetro mayor de 20 µm con las líneas de corriente del flujo de aire del dispositivo corona, y cambios cinemáticos por la evaporación.
|
|
|
Figuras 11a - 11c.- Diagramas de difusión y fuerzas implicadas en partículas de un aerosol con diámetro menor de 5 µm y mayor de 1 µm con las líneas de corriente del flujo de aire del dispositivo corona.
|
|
|
Figuras 12a - 12c.- Diagramas de difusión y fuerzas implicadas en partículas de menos de 1 µm de diámetro con comportamiento browniano en un aerosol fino en el flujo de aire del dispositivo corona.
|
|
|
Figuras 13.- Diagrama de los valores cinemáticos del chorro de difusión del dispositivo corona con un ejemplo de baja potencia de ventilación y en función de la distancia.
|
|
|
Figuras 14.- Diagrama de los valores cinemáticos del chorro de difusión del dispositivo corona con un ejemplo de media potencia de ventilación y en función de la distancia.
|
|
|
Figuras 15.- Diagrama de los valores cinemáticos del chorro de difusión del dispositivo corona con un ejemplo de alta potencia de ventilación y en función de la distancia.
|
|
|
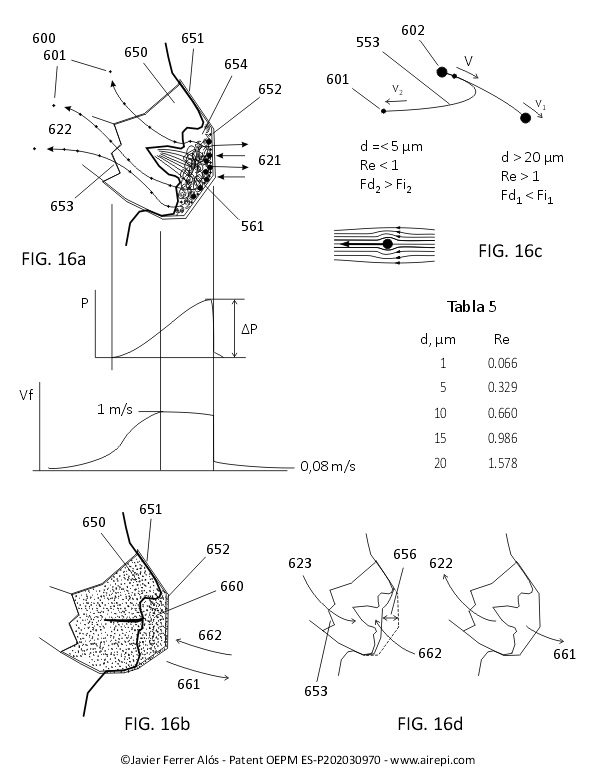
Figuras 16a - 16d.- Esquema de trayectorias de partículas según su tamaño, las fugas de aire de una mascarilla con la respiración y el habla, y la contaminación de sus capas.
|
|
|
Figuras 17.- Vista de las fugas de aire de una mascarilla quirúrgica bien acoplada en las inhalaciones y exhalaciones de un usuario.
|
|
|
Figuras 18.- Vista de las fugas de aire de una mascarilla quirúrgica mal acoplada en las inhalaciones y exhalaciones de un usuario.
|
|
|
Figuras 19a - 19c.- Vistas de alzado y perfil del dispositivo corona ajustado a la cabeza de un usuario y la barrera de difusión de aire que proyecta.
|
|
|
Figuras 20a - 20b.- Vistas de alzado en 3 D del dispositivo corona con diagrama de la zona de mezcla y arrastre en su volumen de control, la capa turbulenta y la barrera a la penetración de partículas.
|
|
|
Figuras 21.- Vista de los flujos de mezcla y arrastre de aire entre un usuario del dispositivo y una persona portadora de una enfermedad contagiosa a través del aire.
|
|
|
Figuras 22.- Vista de los flujos de mezcla y arrastre de aire entre dos usuarios del dispositivo y una de ellas portadora de una enfermedad contagiosa a través del aire.
|
|
|
Figuras 23a - 23b.- Vista de colgadura y transporte del dispositivo generador en modo bandolera, y vista de una posible integración de una visera corta de plástico transparente en la corona.
|
|
|
Figuras 24.- Vista de colgadura y transporte del dispositivo generador en modo mochila, y purificación de aire con filtros HEPA por recirculación interna y toma exterior.
|
|
|
Figuras 25.- Vista en planta de tres tallas del dispositivo corona.
|
|
|
Figuras 26.- Ejemplo de uso del dispositivo por personas en una escena de transporte público.
|
|
|
Figuras 27.- Ejemplo de uso del dispositivo de una dependienta de un comercio atendiendo a un cliente con una mascarilla mal ajustada.
|
|
|
Figuras 28.- Ejemplo de uso del dispositivo por personas sentadas en un encuentro cultural con una de ellas portadora de una enfermedad contagiosa a través del aire.
|
|
|
Figuras 29.- Ejemplo de uso del dispositivo de una persona que atiende a la caja en un supermercado con un cliente con una mascarilla bien ajustada.
|
|
|
Figuras 30a - 30b.- Ejemplos de uso del dispositivo por un grupo en un restaurante y en una cena familiar entre no convivientes.
|
|
|
Figuras 31.- Ejemplo de uso del dispositivo por pasajeros de un vagón de tren de largo recorrido y la renovación de aire por la contribución colectiva de su purificación con filtros HEPA de los dispositivos de los usuarios.
|
|
|
Figuras 32.- Ejemplo de uso del dispositivo por alumnos de un colegio o de la universidad.
|
|
|
Dibujos Patente Airepi ES-P202030970
OEPM, 25 Septiembre, 2020
|
|
|
Javier Ferrer Alós© 2020
jferrer@airepi.com
|